升威動態
Granville dynamic
廣東升威電子制品有限公司
電 話:0769-38833333
傳 真:0769-87930111
0769-87930222
E-mail:sw@soundwell-cn.com
地 址:廣東省東莞市塘廈鎮鳳凰崗升威工業園
電位器怎么接線?
文章出處:www.kpgfwp.cn
編輯:升威電子
發表時間:2017-03-02
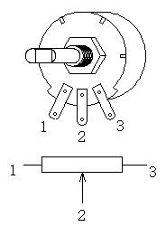
電位器是電路中常用的一個電子元器件,有些剛接觸的朋友對電位器的接線不是很了解.
電位器有三個引出端,是由電阻體和可移動電刷組成,當電刷沿電阻體移動,在輸出端即獲得與位移量成一定關系的電阻值或電壓.
電位器接線,一般1號接電源正極,2號接信號輸出,3號接電源負極.123標志電位器上都有,沒有就用萬用表量一下,一般13是總阻, 部分電位器上標有電路圖,中心頭,接電位器的中間腿,其他兩端可任意接,如果調整時方向相反,可將兩端的線對調。

逆時針轉到頭時12相連,順時針轉到頭時23相連。
具體在電路中的接法因使用位置和用作的不同而不盡相同。
像上面一圖中,可將12短接,3接100K,也可以將23短接,1接100K。
在控制電壓時,以順時針旋轉2端的電壓升高為常用的接法。
控制問題是時,以順時針旋轉音量增大為一般接法。
廣東升威電子專業生產電位器26年,電位器種類多,型號全,找電位器生產廠家就找升威電子!





















.jpg)
.jpg)
.jpg)



